城轨采购网证书到期前、过期更新,请确认证书序列号为8668开头;
数字证书在到期前30天内或已过有效期未超过60天
用购买证书的手机号码登录网址:https://www.itruscloud.com/home/#/signMountApp/login?appCode=ycd 登录平台后点击【我的证书】,找到需要更新的证书,点【更新】提交更新的订单

如果有企业、法人证书,请分别提交订单
审核周期:2个工作日;
证书费用:企业:200元/年,法人:100元/年
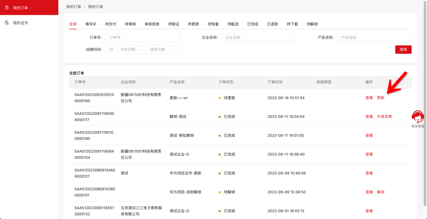
订单审核通过后,请及时下载证书,登录https://www.itruscloud.com/home/#/signMountApp/login?appCode=ycd在“我的订单”或者“我的证书”页面点“更新”按钮更新下载证书,请务必在60天内下载更新证书,超过60天后,将无法下载需重新申请购买。


如果证书有效期已超过60天,只能按初始重新办理
订单修改及查询网址:https://www.itruscloud.com/home/#/signMountApp/login?appCode=ycd输入经办人的手机号及验证码登录平台(温馨提示:当时提交订单时接收短信验证码的手机号),点击【我的订单】,可查看当前企业订单状态。
发票下载:请在证书更新完成后,输入经办人手机号及验证码登录网址:https://www.itruscloud.com/home/#/signMountApp/login?appCode=ycd在【我的订单】——【已完成】订单中,点击查看按钮,在订单中下载发票。