证书有效期小于30天且过期未超过60天, 用购买证书的手机号码登录网址:https://www.itruscloud.com/home/#/signMountApp/login?appCode=ycd 登录平台后点击【我的证书】,找到需要更新的证书,点【更新】提交更新的订单,

审核通过后,请在订单页面,点“更新”按钮更新下载证书即可,请您随时关注您的订单状态。

点击更新后进入证书更新页面,如下图。在此页面需将电子钥匙保持插入在电脑USB插槽中不要拔出,更新成功后证书期限则完成续期,可继续使用。

如果证书有效期已超过60天,只能按初始重新办理
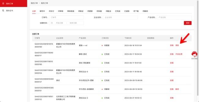
订单修改及查询网址:https://www.itruscloud.com/home/#/signMountApp/login?appCode=ycd 输入经办人的手机号及验证码登录平台(温馨提示:当时提交订单时接收短信验证码的手机号),点击【我的订单】,可查看当前企业订单状态。
收费标准:RMB 180元/年;
支付方式:订单提交后,支付宝在线完成支付(公司或个人支付宝均可)。
发票下载:登录输入经办人手机号及验证码登录网址:https://www.itruscloud.com/home/#/signMountApp/login?appCode=ycd在【我的订单】——【已完成】订单中,点击查看按钮,在订单中下载发票。