尊敬的运达能源供应商:感谢您购买天威诚信公司运达能源数字证书。
证书更新前,请务必确认所有证书信息未发生变更,并仔细检查密钥(Key)是否完好,确保证书更新后可以正常使用!
注意事项:证书在到期前30天内或已过有效期未超过90天可以办理证书续期,如果证书有效期已超过90天,只能按初始重新办理。
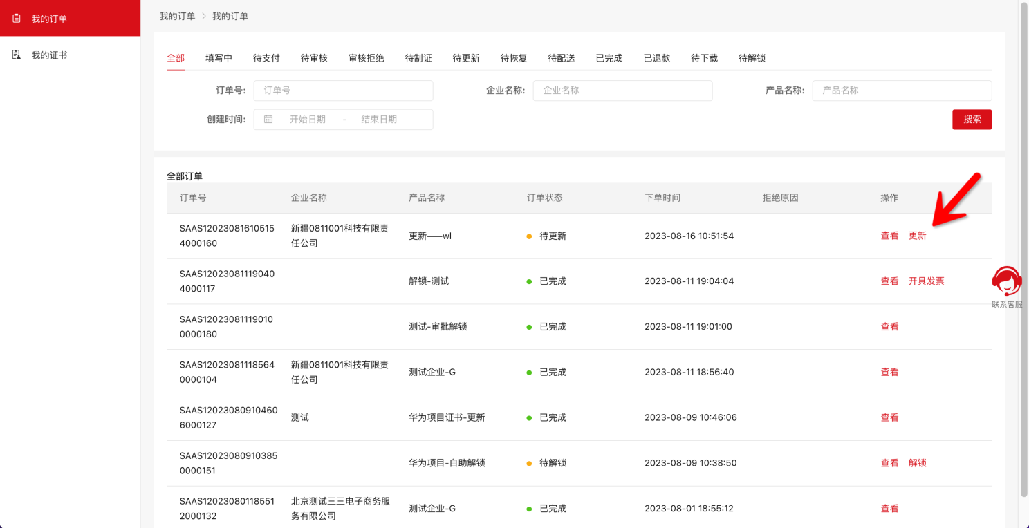
用购买证书的手机号码及验证码登录网址:https://www.itruscloud.com/home/#/signMountApp/login?appCode=ycd, 登录平台后点击【我的证书】,找到需要更新的证书,点【更新】提交更新的订单; 审核通过后,请在订单页面,点“更新”按钮更新下载证书即可,请您随时关注您的订单状态。

收费标准:RMB 300元/年;
审核通过后,请在订单页面,点“更新”按钮更新下载证书即可,请您随时关注您的订单状态。

点击更新后进入证书更新页面,如下图。在此页面需将电子钥匙保持插入在电脑USB插槽中不要拔出,更新成功后证书期限则完成续期,可继续使用。

按照页面提示填写订单信息,确认无误后提交订单
如果证书有效期已超过90天,只能按初始重新办理
订单修改及查询网址:https://www.itruscloud.com/home/#/signMountApp/login?appCode=ycd , 输入经办人的手机号及验证码登录平台(温馨提示:当时提交订单时接收短信验证码的手机号),进入“我的订单”页面,可查看当前企业订单状态。
支付方式:订单提交后,支付宝或微信在线完成支付
发票下载:输入经办人手机号及验证码登录网址:https://www.itruscloud.com/home/#/signMountApp/login?appCode=ycd,在【我的订单】——【已完成】订单中,点击查看按钮,在订单中下载发票。